1、不需要灌水,吸程高达7m,扬程70 m,出口压 ≥6kgf/cm2
2、流动宽敞,通过性能好,允许通过最大颗粒直径达10mm。抽送泥浆、杂质时,对泵磨损甚微;
3、扬程、流量可通过气阀开度实现无级调节(气压调节在1-7kgf/cm2之间);
4、该泵无旋转部件,没有轴封,隔膜将抽送的介质与泵的运动部件、工件介质质完全隔开,所输送的介质不会向外泄漏。所以抽送有毒、易发挥或腐蚀性介质时,不会造成环境污染和危害人身安全;
5、不必用电,在易燃、易爆场所使用安全可靠;
6、可以浸没在介质中工作;
7、使用方便、工作可靠、开停只需简单地打开和关闭气体阀门,即使由于意外情况而长时间无介质运行或停机,泵也不会因此而损坏,一旦超负荷,泵也会自动地停机,具有自我 保护性能,当负荷恢复正常后,又能自动启动运行;
8、结构简单、易损件少,该泵结构简单,安装、维修方便,泵输送的介质不会接触到配气阀,联杆等运动部件,不象其他类型的泵因转子、活塞、齿轮、叶片等部件的磨损而使性能逐步下降;
9、可输送较粘的液体(粘度在1万厘泊以下);
10、本泵无须用油润滑,即使空转,对泵也无任何影响,这是该泵一大特点。
|
1
|
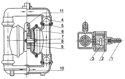
进 气 口
|
4
|
圆 球
|
7
|
连 杆
|
10
|
泵进口
|
|
2
|
配气阀体
|
5
|
球 座
|
8
|
连杆铜套
|
11
|
排气口
|
|
3
|
配 气 阀
|
6
|
隔 膜
|
9
|
中间支架
|
2、在易燃易爆的环境中用气动泵可靠且成本低,如燃料、火药、炸药的输送,因为:第一、接地后不可能产生火花;第二、工作中无热量产生,机器不会过热;第三、流体不会过热因为气动隔膜泵对流体的搅动最小。
3、在工地恶劣的地方,如建筑工地、工矿的 废水排放、由于污水中的杂质多且成分复杂,管路易于堵塞,这样对电泵就形成负荷过高的情况,电机发热易损。气动隔膜泵可通过颗粒且流量可调,管道堵塞时自动停止至通畅。
4、另外气动隔膜泵体积小易于移动,不需要地基,占地面极小,安装简便经济。可作为移动式物料输送泵。
5、在有危害性、腐蚀性的物料处理中,气动隔膜泵可将物料与外界完全隔开。
6、或是一些试验中保证没有杂质污染原料。
7、可用于输送化学性质比较不稳定的流体,如:感光材料、絮凝液等。这是因为气动隔膜泵的剪切力低,对材料的物理影响小。
2.泵吸油漆、树胶、颜料。
3.粘合剂和胶水、全部种类可用泵吸取。
4.各种瓦、瓷、砖器及陶器釉浆。
5.油井钻好后,用泵吸沉积物及灌浆。
6.泵吸各种乳剂和填料。
7.泵吸各种污水。
8.用泵为油轮,驳船清仓吸取仓内污水。
9.啤酒花及发酵粉稀浆、糖浆、糖蜜。
10.泵吸矿井、坑道、隧道、选矿、矿渣中的积水。泵吸水泥灌浆及灰浆。
11.各种橡胶浆。
12.各种磨料、腐蚀剂、石油及泥浆、清洗油垢及一般容器。
13.各种剧毒、易燃、易挥发液体。
14.各种强酸、强碱、强腐蚀液体。
15.各种高温液体最高可耐150℃。
16.作为各种固液体分离设备的前级送压装置。
|
名称
|
型号
|
流量
(m3/h) |
扬程
(m) |
出口压力
(kgf/cm2) |
吸程
(m) |
最大允许能
过颗粒直径 (mm) |
最大供气压力
(kbf/cm2) |
最大供气消耗量
(m3/min) |
材质
|
|||
|
铝合金
|
不锈钢
|
铸造铁
|
增强聚丙烯
|
|||||||||
|
工程塑料气动隔膜泵
|
QBY-10
|
0~0.8
|
0~50
|
6
|
5
|
1
|
7
|
0.3
|
★
|
★
|
★
|
★
|
|
QBY-15
|
0~1
|
0~50
|
6
|
5
|
1
|
7
|
0.3
|
★
|
★
|
★
|
★
|
|
|
QBY-25
|
0~2.4
|
0~50
|
6
|
7
|
2.5
|
7
|
0.6
|
★
|
★
|
★
|
★
|
|
|
QBY-40
|
0~8
|
0~50
|
6
|
7
|
4.5
|
7
|
0.6
|
★
|
★
|
★
|
★
|
|
|
QBY-50
|
0~12
|
0~50
|
6
|
7
|
8
|
7
|
0.9
|
★
|
★
|
★
|
/
|
|
|
QBY-65
|
0~16
|
0~50
|
6
|
7
|
8
|
7
|
0.9
|
★
|
★
|
★
|
/
|
|
|
QBY-80
|
0~24
|
0~50
|
6
|
7
|
10
|
7
|
1.5
|
★
|
★
|
★
|
/
|
|
|
QBY-100
|
0~30
|
0~50
|
6
|
7
|
10
|
7
|
1.5
|
★
|
★
|
★
|
/
|
|
1 、检查泵体是否有空蚀斑象,调整压缩空气的进口压力。降低泵体的运转速度来调整粘度和浓度较大的液体。
2 、检查阀球是否被卡住。如果输送的液体与阀球材质不相吻合。阀球将会胀大。请更换合适材质的阀球与阀座。
3 、请检查入口管道是否被堵塞。
二、气动隔膜泵无法启动或动作缓慢
1、检查过滤、调压和润滑装置和空气入口过滤网是否被堵塞。
2、检查气阀是否被杂质卡住,请将气阀拆下并清洗干净,查看气阀内的活塞是否有划伤的痕迹。如果活塞表面光亮而不黑纯,表示已磨损需要更换活塞和“O”型环。伤的 痕迹。如果活塞表面光亮而不黑纯,表示已磨损需要更换活塞和“O”型环。请重新更换新品
3、检查主轴和“O”型环是否有刮伤、磨损和压扁的痕迹,如有损坏请更换。
三、液体从气室排出口漏出
1 、请检查隔膜是否破裂。
2 、检查隔膜是否正确安装和锁紧。
四、出口液休中含有大量气泡
1 、请检查隔膜是否破裂。
2 、检查泵体和管路是否泄漏。






























